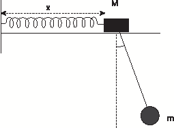
| A simple pendulum, consisting of a mass $m$ and a weightless string of length $L$, is mounted on a support of mass $M$ which is attached to a horizontal spring with force constant $k$ as shown in figure below. Set up the Lagrangian and obtain the frequencies of small oscillations about the equilibrium position. | ![]() |
Exclude node summary :
n
Exclude node links:
0
4727:Diamond Point
0





||Message]
